當前頁麵:
首頁
>
政務公開
>
部門信息公開目錄
>
縣政府工作部門
>
縣文化旅遊廣電體育局
>
通知公告
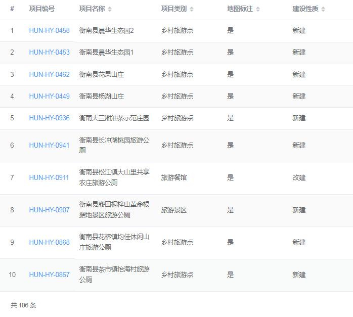
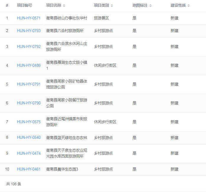
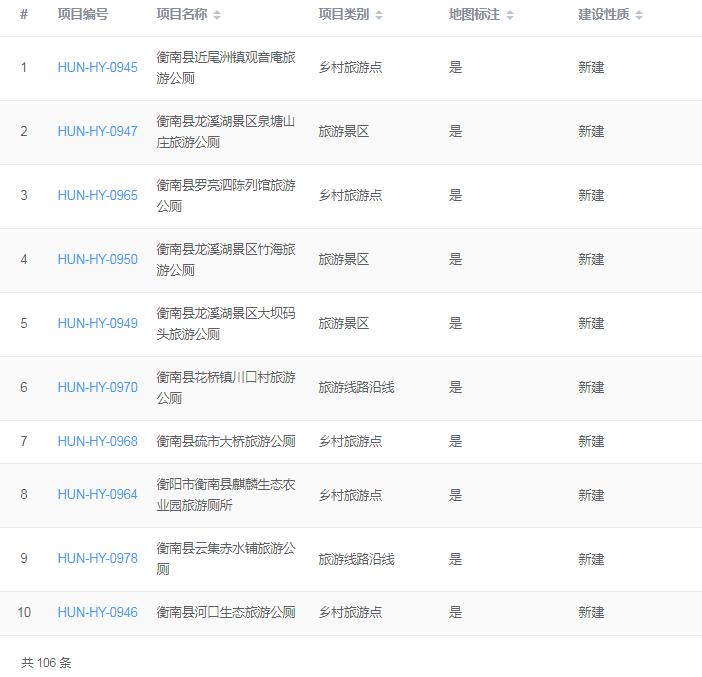
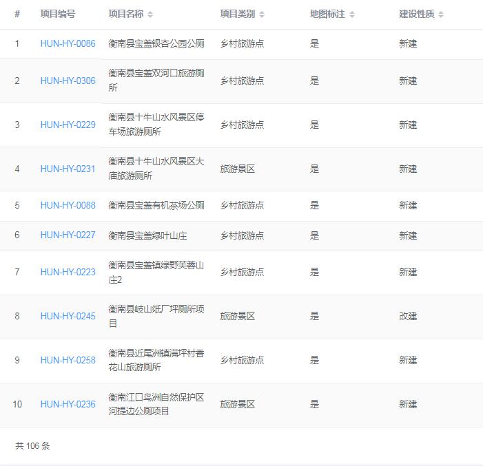
旅遊廁所建設數量及廁位數量
來源:
衡南縣文化旅遊廣電體育局
時間:2023-10-07 09:20:55
【字體:
大
中
小】
打印
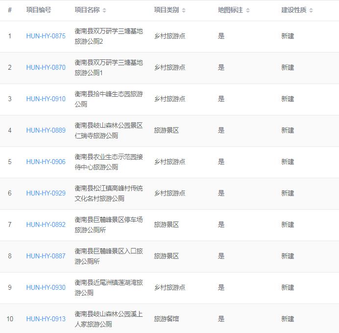
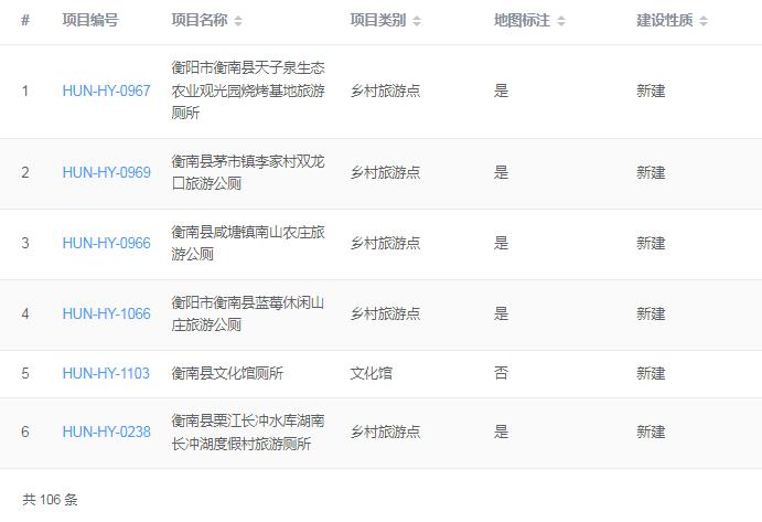
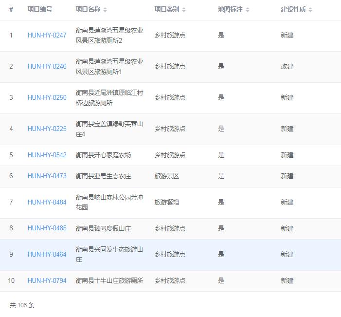
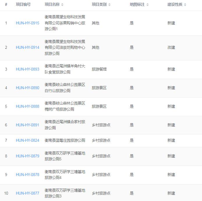
全國旅遊廁所管理係統廁所信息統計表
行政區域
已完工
新建數量
改建數量
男廁位數量
女廁位數量
無障礙廁位數量
第三衛生間數量
男女通用廁位數量
衡南縣
106
102
4
834
740
20
6
14
掃一掃在手機打開當前頁
附件下載:
相關稿件